杏吧_性吧_sex8_杏吧有你春暖花开

 找回密码
 立即注册
  • 杏彩体育

  • 杏彩体育

  • 杏彩体育

  • 澳门新葡京

  • 杏彩体育

  • 澳門新葡京

  • 杏彩体育

  • 杏彩体育

  • 杏彩体育

  • 杏彩体育

  • 杏彩体育

  • 澳门新葡京

×

选择推广文案

加拿大11选5输多赢少

https://www.chinase.space/?x=0

×
加入VIP
加入杏吧VIP 享多重福利
查看: 178|回复: 2
打印 上一主题 下一主题

[讨论区] 加拿大11选5输多赢少

[分享提现领取免费VIP]

等级:Level 13

1923

主题

8万

帖子

9707

积分

Level 13

Rank: 13Rank: 13Rank: 13Rank: 13

积分
9707

玄铁会员青铜会员建设巨匠灌水之王德高望重建筑大师白银会员德隆望尊火眼金睛辉煌荣誉峥嵘岁月黄金会员终身成就论坛元老

跳转到指定楼层
楼主
 楼主| 发表于 2022-6-26 07:26:05 | 只看该作者|只看大图 回帖奖励 |倒序浏览 |阅读模式 |

杏吧有你,春暖花开!马上注册,看更多精彩内容!

您需要 登录 才可以下载或查看,没有帐号?立即注册

x
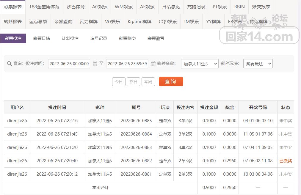
下注加拿大11选5趣味玩法,只是运气不太好,玩了几注就只红了一注,中奖率太低了,希望下次运气能好点吧。

UC截图20220626072438.png (61.93 KB, 下载次数: 9)

UC截图20220626072438.png
回复 + 3贡献

使用道具

等级:Level 14

3万

主题

15万

帖子

2万

积分

Level 14

Rank: 14Rank: 14Rank: 14Rank: 14

积分
20323

中秋节国庆节慈善家未卜先知勋章峥嵘岁月辉煌荣誉德高望重管理之星连任管理人员建设巨匠五一劳动节论坛元老高级群活跃博彩荣耀博彩RMB培训版主

沙发
发表于 2022-6-26 08:15:21 | 只看该作者|
这也太黑了

等级:Level 13

1万

主题

20万

帖子

7328

积分

Level 13

Rank: 13Rank: 13Rank: 13Rank: 13

积分
7328

连任管理人员论坛元老黄金会员辉煌荣誉德高望重建设巨匠峥嵘岁月元旦勋章圣诞活动纪念章端午节勋章八一建军节教师节纪念章中秋节国庆节灌水之王玄铁会员青铜会员白银会员

板凳
发表于 2022-6-26 10:01:47 | 只看该作者|
还是不给力的啊
高级模式
B Color Image Link Quote Code Smilies
上传中...
您需要登录后才可以回帖 登录 | 立即注册

本版积分规则

TOP 加入VIP
签到中心
杏彩体育
( RMB)购买成功!!
×
百年杏吧看书送VIP金鼎财富犀牛跑分杏彩体育杏彩娱乐后宫导航杏书宝典杏吧APP

小黑屋|Twitter|纸飞机|广告商务|加入我们|2257|DMCA|Archiver|杏吧-华语第一成人社区

GMT+8, 2026-2-18 00:22

分享推广,薪火相传 杏吧VIP,尊荣体验